How to retorque #7&8 head bolts?

Status
Not open for further replies.
Joined
Sep 21, 2009
Messages
1,607
I need to retorque my head bolts. Don't know if the guy who I got it from did it after the new top end. I know I have done this many times about 25 years ago but can not remember how to get a torque wrench on #7&8 in the sequence. I never had Whitworth crows foot wrenches that I can remember. Is that what has to be used? I can get to all the others but not these except for just a wrench, no room for a ratchet. Help? Thanks.
 
I use a 5/16BS-1/4W box end wrench with a nut welded to the middle of it, place your socket on the nut and torque away.

How to retorque #7&8 head bolts?

How to retorque #7&8 head bolts?
 
I have been known to put a spring scale on a wrench by hooking it into the box end while the open end is being used on the nut/bolt. Measure from the center of the bolt to the center of the box end. Then do a conversion to adjust for the actual length of the spanner to figure out how much pull you need on the scale. It isn't perfect but it gets you real close.
I use a digital spring scale out of my fishing tackle for the task.
Russ
 
Yes it's all coming back now. I remember having to do the conversion if going out 90%. my wrench came with a chart. Lost it years ago. Thanks.
 
Mick Hemmings in his video does not even worry about it. He just does it by feel. Same with all the head bolts. If you practice with a nut and bolt with the torque wrench, I bet you can come pretty close. Then you need to re-torque after using too, according to Mick.

Dave
69S
 
rvich said:
Nortasaki said:
I use a 5/16BS-1/4W box end wrench with a nut welded to the middle of it, place your socket on the nut and torque away.

Very clever idea. I just happened across an online application that will give you the correct torque setting when using an extension.

http://www.belknaptools.com/extcalc.asp

Thanx, I found that wrench in my Fathers tool box and immediately knew what it was for but always knew the distance between would slightly increase the torque measure, having only work with the Dunstall I would torque less than stock commando spec. Thanx again for the link :wink:
 
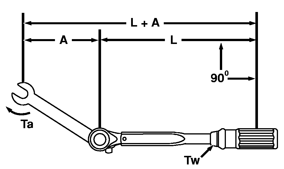
If you apply the torque at right angles there is no conversion.

I use this on my Ducati twins as you cannot get a socket on any headbolt there. For the Nortons, I use a torque wrench for all the head fasteners except the two under the exhaust ports and the one below the carburetors. With the engine in the frame and the exhaust pipes on it is still tough to get unobstructed access. I do these with a thin ring spanner and by feel.
 
DogT said:
Mick Hemmings in his video does not even worry about it. He just does it by feel.

I stumbled across some info on a bolt suppliers web site recently, which i didn't copy :roll: , but which compared the likely accuracy of bolt tension vs applied torque for various measurement methods.
It claimed that when using a torque wrench the tension was likely to be within 25% either side of the target value, when going by hand/feel within 35%. That seems close enough to me, especially with a little practice.
Lubricating the threads can double the bolt tension achieved for the same torque, or halve the torque required to achieve the desired tension.
 
I always figured it was more important on something like a head to be consistant in the torque applied, regardless of whether it was exact.
 
The 7 & 8 nuts on my '74 have a 3/16W hex (about 7/16"), not 1/4W. The box wrench for that is mighty small and judging 30 ft lbs by hand is near impossible for me. I have an extender for the torque wrench now, similar to the one in the pic above. Need to do that for the 1/4 Whit on the #2 nut too.

If you apply the torque at right angles there is no conversion.

Not true. The length from handle pivot to the socket is still longer (triangle hypotenuse), though insignificant with a short extension.
 
I've done it by feel in the past. Torque is getting to be an obsolete measure as it is not accurate enough for modern engines. Not to say it won;t work for you on old stuff like this.
 
Not true. The length from handle pivot to the socket is still longer (triangle hypotenuse), though insignificant with a short extension

Actually because torque is a rotational force, at 90 degrees the effective length of the extension is 0. My engineering mechanics courses were a good many years ago, but if you search for it, I'm sure you can find the formula for the calculation.

Or maybe some of our practicing engineers can provide it.
 
Ron L said:
Not true. The length from handle pivot to the socket is still longer (triangle hypotenuse), though insignificant with a short extension

Actually because torque is a rotational force, at 90 degrees the effective length of the extension is 0. My engineering mechanics courses were a good many years ago, but if you search for it, I'm sure you can find the formula for the calculation.

Or maybe some of our practicing engineers can provide it.

by rvich
http://WWW.BELKNAPTOOLS.COM/EXTCALC.ASP
 
Ron L said:
Not true. The length from handle pivot to the socket is still longer (triangle hypotenuse), though insignificant with a short extension

Actually because torque is a rotational force, at 90 degrees the effective length of the extension is 0. My engineering mechanics courses were a good many years ago, but if you search for it, I'm sure you can find the formula for the calculation.

Or maybe some of our practicing engineers can provide it.

Agree with this....anyway here are a few pictures, when A = 0 at 90 degrees no correction to the tool reading is required

How to retorque #7&8 head bolts?


How to retorque #7&8 head bolts?


Also came up with a workable adapter for my bike today using a 3/8 x 7/16 combo box wrench and a 3/8 drive 3/8 hex driver

How to retorque #7&8 head bolts?


 
Status
Not open for further replies.
Back
Top